Popis stavby
MATERIÁL: SMREK
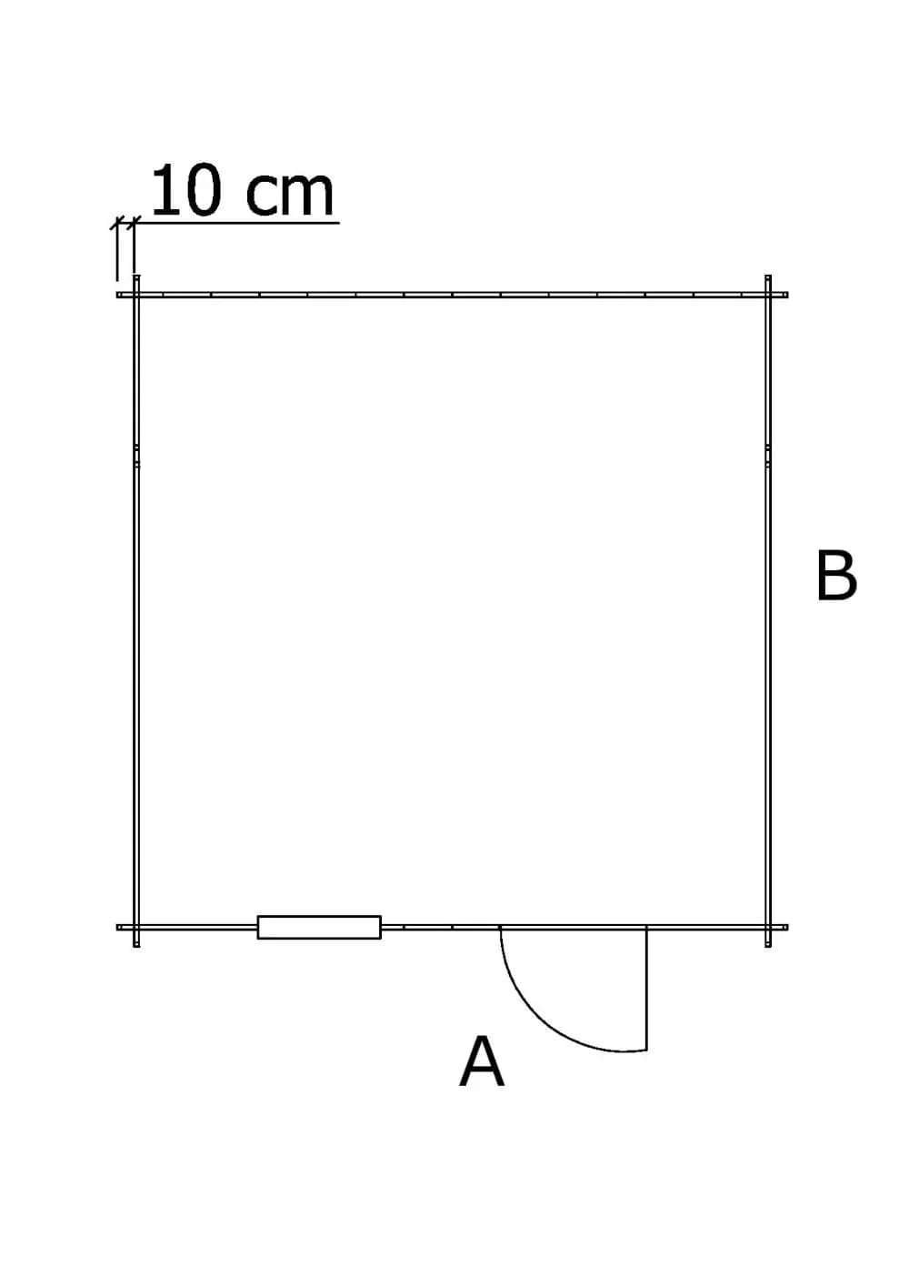
A: Výška hrebeňa strechy max. 277 cm
B: Výška bočnej steny: 203 cm
C: Čelný presah strechy: 100 cm
D: Bočný presah strechy: 23 cm
E: Dĺžka terasy: bez terasy
Dvere: pravé plné 75 x 175 cm
Okno: pravé 60 x 75 cm bez okenice
Hrúbka strešnej perodrážky: 19 mm
Hrúbka steny: 28 mm alebo 40 mm
Rozmery chatky sú vrátane presahu stien 10 cm
Pôdorys a pohľady
 




